触摸式82型沥青薄膜烘箱的使用温度 主要特点;
仪器为不锈钢内胆、触摸式开关,在50~199℃温度范围内可任意设定、显示设定和即时温度,设定后烘箱由自动控制系统恒温。
触摸式82型沥青薄膜烘箱的使用温度 使用方法
设备应放置在水平、通风的位置,调节箱脚使箱内转盘保持垂直。设备外壳应可靠接地。
时间控制器显示窗口显示运行时间,显示烘箱计时开始后的工作时间,下面拨盘为时间设定,显示设定的时间值。
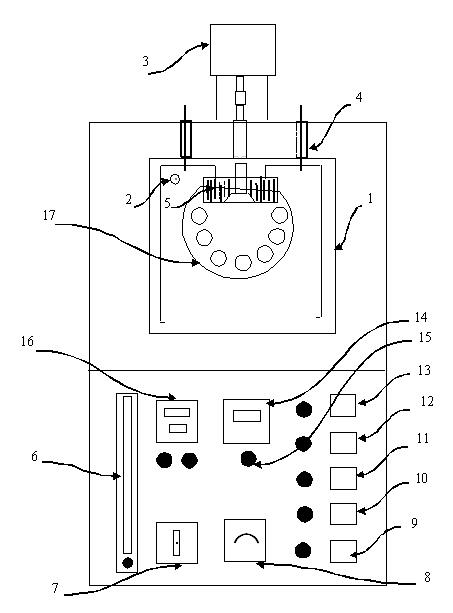
按键说明:温控仪有4个按键,从左至右依次为设定键、移位键、减键、加键。

触摸式82型沥青薄膜烘箱的使用温度 温度设定:
按加键:下窗口的设定温度加1,累加设定值。
按减键:下窗口的设定温度减1,递减设定值。
不按任何键,过2~5秒,下窗口停止闪烁,即完成设定。
设定键:按设定键2秒,进入设定界面,上窗口显示CTL,下窗显示设定的控制方式,CTL=2,仪表进入自整定,使用一段时间后,如发现控温不准,可进行一次自整定。
按设定键一次,进入设定传感器修正值,上窗显示SC,下窗显示传感器修正值,并在个位闪烁,用加键/减键改动闪烁的数字至需要值,也可配合移位键改动闪烁位,再修改其值。修改完后再按设定键保存修改的值,并进入下一个设定参数(密码),上窗显示LOC,下窗显示密码0000,按设定键保存,返回。

时间控制器下面的拨码开关为设定的时间,右方为复位键。按复位键,时间清零。
试验开始前,接通电源。调节温度控制器,打开风机,设定加热温度并预热不少于16小时。打开箱门,迅速装入试样后关闭箱门,开启环型架,调节流量计流量为4000ml±200ml。设定加热时间:箱内温度在15分钟内应达到163℃±0.5℃。并自动维持恒温。保证试样在163℃±0.5℃温度下受热时间不少于75min。
技术参数:
1.转盘转速:5r/MIN
2.使用温度:163℃ *高温度200℃
3.控温精度:±0.5℃
4.工作室尺寸:450×450×500mm
5.总功率:3KW



